您的位置: 首页 >教辅机构>图书馆>阅读成长计划>详细内容

阅读成长计划

悦读成长 | 2021-2022学年第一学期悦读成长计划总结

来源:图书资料中心 发布时间:2022-01-09 16:40:45 浏览次数: 【字体:

阅读文化是大学文化的重要内核之一,一直以来,图书资料中心致力于通过“阅读”开展文化育人工作。囿于当前高校学生阅读中普遍存在“低需求、碎片化、浅泛式”等阅读困境,自2017年初开始筹划,构建了“悦读成长计划”项目。

项目紧紧围绕立德树人根本任务,充分发挥“阅读”文化育人功能,以书启智,以文化人,践行以师德养成为核心的文化育人理念,逐步形成“书香浸润—人文素养提升—师德养成”的文化育人路径。项目实施以来,我校学生阅读兴趣明显增强,项目助力我校学生综合素养大幅提高;近年来,项目内涵品质也在不断施行过程中优化提升,荣获2020年度高校图书馆阅读推广案例银榜,2021年度苏州市优秀阅读创新项目。

一、考核总体情况

本学期中心持续开展“悦读成长计划”,共计开展阅读级考核68本,其中必读书目15本,选读书目53本,考核分七周进行,其中,第12-16周考核选读书目,17-18周考核必读书目,2018级、2019级、2020级、2021级全体在校学生参加了阅读级考核。在全体学生的积极参与下,阅读级考核通过共计21093人次,必读考核通过7330人次,选读考核通过13763人次;共计发放学时64176个,其中必读发放学时36650个;选读发放学时27526个。

部分选读书目考核情况

 

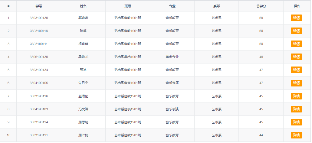
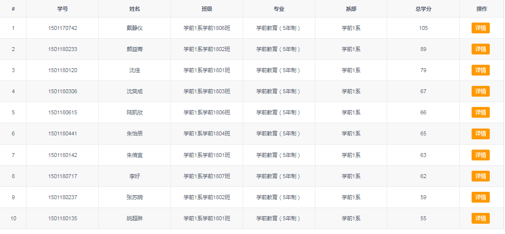
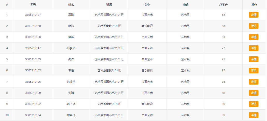
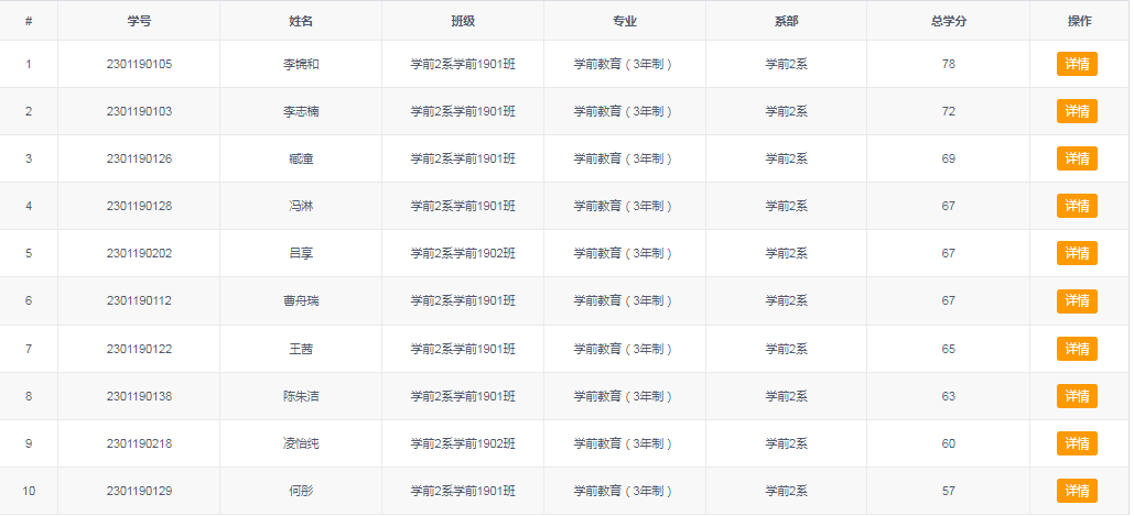
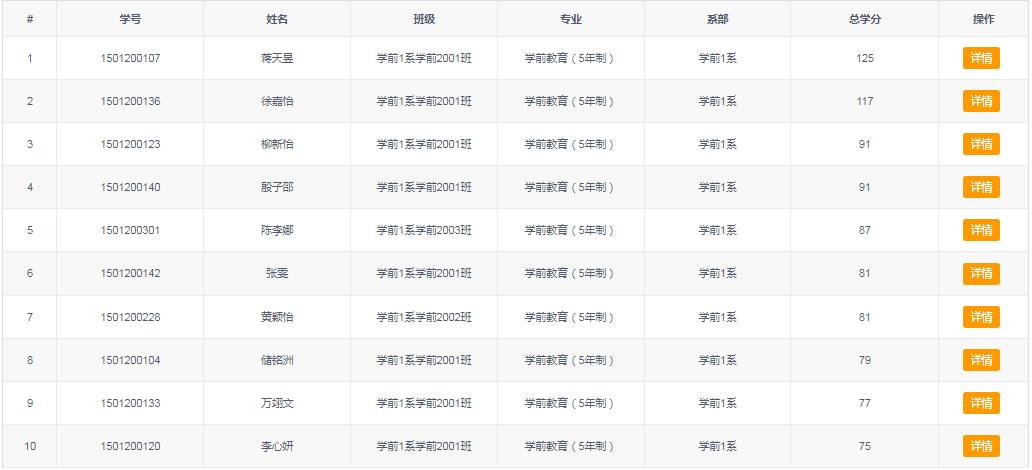
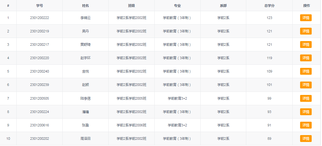
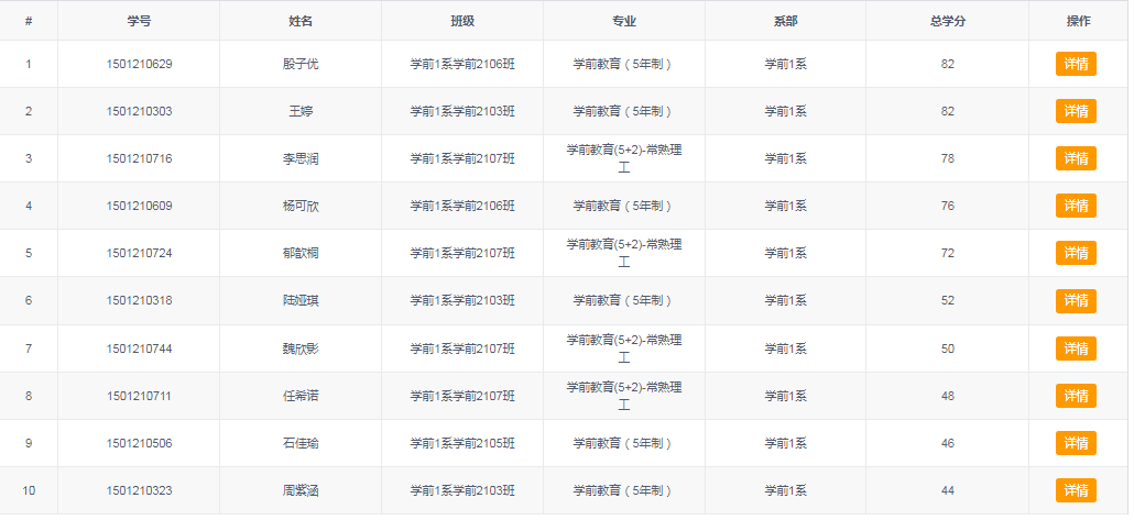
二、考核排名

 

三、第二、三层级考核

在全体学生积极参与普测级考核的基础之上,中心通过组织“读书笔记征文比赛”等形式引导学生开展阅读交流级考核,本学年累计有300余人次参与第二层级考核,20人次参与读书报告会进行第三层级分享级考核。


分享到:
【打印正文】
×

用户登录